Novi artikli
HIDRAVLIČNA DVIŽNA POTEZNICA - FIAT - NEW HOLLAND 80/40min.470 tip (1) fi 26/22

Uporaba za traktorje:
Tip traktorja:
FIAT-NEW HOLLAND
Model traktorja:
TD 4020F - TD4030F - TD4040F
Splošni opis:
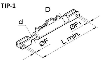
Hidravlična dvižna poteznica (ang. top side link ali side third point, nem. seitliche hubstrebenverstellung) je v osnovi običajni dvostransko delujoči hidravlični cilinder z privarjenimi priključki za montažo na traktorske roke hidravlike. Služi za posamično nastavitev višine rok hidravličnega tri točkovnega sistema. Služi lahko tudi za dodatno ojačenje rok oz. povečanja nosilnosti.
Vse hidravlične dvižne poteznice imajo nameščen tudi blok ventil, ki služi za varnost (v primeru poškodbe hidravlične cevi, cilinder poteznice ostane na enakem mestu s tem posledično tudi traktorski priključek). Blok ventil prav tako služi, da cevi niso pod pritiskom in tako med vožnjo zaradi vibracij ne obremenjuje hidravličnega ventila na traktorju.





